FNCY 로그인
표준 OAuth2 스펙 (RFC 6749)을 통해 개발됨.

OAuth 2.0 용어
Authentication
인증, 접근 자격이 있는 클라이언트 인지 검증하는 단계이다.
Authorization
인가, 자원에 접근할 권한을 부여하고 인가 완료시 리소스 접근 권한이 담긴 Access Token이 클라이언트에게 부여된다.
Access Token
리소스 소유자의 보호된 자원을 획득할 때 사용되는 만료 기간이 있는 Token으로 리소스 서버에게 전달한다.
Refresh Token
Access Token 만료시 이를 갱신하기 위한 용도로 사용하는 Token으로 일반적으로 Access Token 보다 만료기간이 길다.
OAuth 2.0 주요 API Parameter
client_id
client_secret
클라이언트의 자격을 증명할때 사용되는 정보이며 권한서버 연동 시 클라이언트 점증에 사용 된다.
redirect_url
권한 서버가 요청에 대한 응답을 보낼 url 설정 정보이다.
response_type
권한 부여 동의 요청 시 권한 부여 방식 정보이다.
일반적으로 아래의 값 중 한개를 사용
· code: Authorization Code Grant
· token: Implicit Grant
grant_type
Access Token 요청 시 권한 부여 방식에 대한 설정입니다.
일반적으로 아래의 값 중 한개를 사용
· authorization_code: Authorization Code Grant
· password: Resource Owner Password Credentials Grant
· client_credentials: Client Credentials Grant
code
Access Token요청 시 Authorization Code Grant 방식에서 사용됩니다.
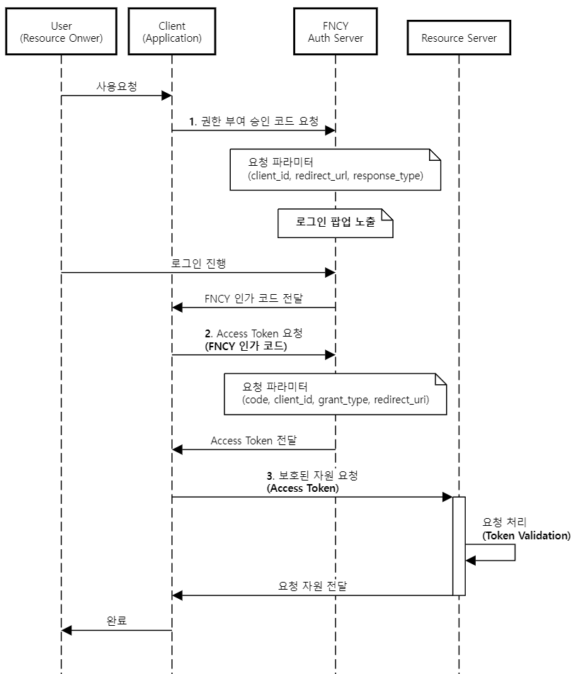
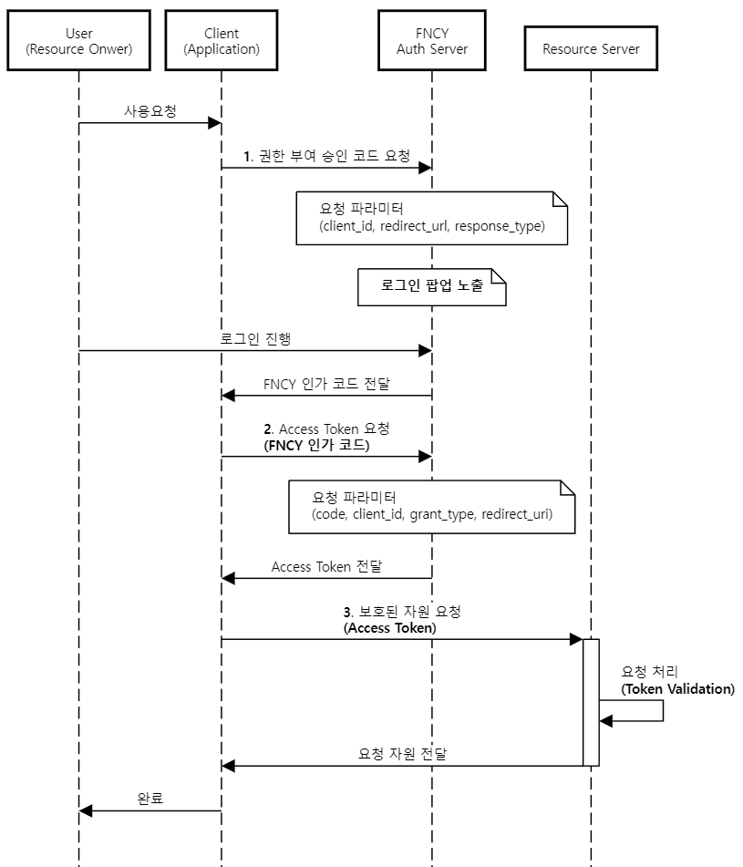
FNCY 로그인 과정

/v1/oauth2/authorize
GET
-
FNCY 인가 코드 요청
/v1/oauth2/token
POST
json
토큰 발급 요청
Authorization Code Grant Type 방식
클라이언트가 파리미터로 클라이언트 ID, 리다이렉트 URI, 응답 타입을 code로 지정하여 FNCY 인증서버에 전달합니다. 정상적으로 인증이 되면 FNCY 인가 코드를 클라이언트에게 보냅니다.
성공적으로 FNCY 인가 코드를 받은 클라이언트는 FNCY 인가 코드를 사용하여 엑세스 토큰을 FNCY 인증서버에 추가로 요청합니다. 이때 필요한 파라미터는 클라이언트 ID, 클라이언트 비밀번호, 리다이렉트 URI, 인증 타입 입니다.
마지막으로 FNCY 인증서버에서 받은 엑세스 토큰을 사용하여 리소스 서버에 사용자의 데이터를 보냅니다.